Запасные части ЧТЗ Запасные части ЧТЗ
Магадан
Например:
Актобе
Алдан
или
Выбрать автоматически
Актобе
Алдан
Алматы
Алчевск
Архангельск
Астана
Астрахань
Атырау
Баку
Балашиха
Барнаул
Белгород
Бердянск
Бишкек
Владивосток
Владикавказ
Воркута
Воронеж
Горловка
Грозный
Донецк
Екатеринбург
Иваново
Ижевск
Иркутск
Казань
Калининград
Каменск-Уральский
Караганда
Каховка
Кемерово
Киров
Комсомольск-на-Амуре
Костанай
Краснодар
Красноярск
Красный луч
Ленск
Луганск
Магадан
Магнитогорск
Макеевка
Махачкала
Мелитополь
Минск
Мирный (Якутия)
Москва
Мурманск
Нерюнгри
Нижневартовск
Нижний Новгород
Нижний Тагил
Новая каховка
Новокузнецк
Новосибирск
Новый Уренгой
Норильск
Ноябрьск
Нур-Султан
Омск
Оренбург
Ош
Павлодар
Пермь
Петрозаводск
Петропавловск
Петропавловск-Камчатский
Псков
Ростов-на-Дону
Салехард
Самара
Санкт-Петербург
Саратов
Севастополь
Семей
Симферополь
Сочи
Ставрополь
Сургут
Сыктывкар
Тараз
Ташкент
Токмак
Томск
Тында
Тюмень
Ульяновск
Усинск
Усть-Каменогорск
Уфа
Хабаровск
Ханты-Мансийск
Херсон
Челябинск
Чита
Шымкент
Экибастуз
Энергодар
Южно-Сахалинск
Якутск
Ваш город
Магадан
Войти
Запасные части к тракторам на одном сайте
+7 (932) 303-00-10
+7 (932) 303-00-10
г. Магадан, пер. Марчеканский, д. 25В
Пн-Пт: 9:30-18:30 Cб-Вс: Выходной
Отправить заявку


Установка отопителя-вентилятора на Т-170


/
с НДС 20%
Описание
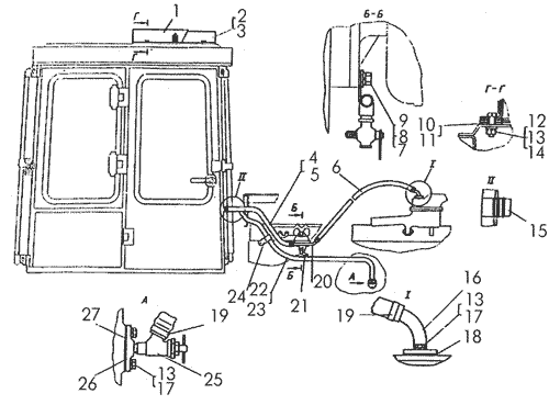
Установка отопителя-вентилятора Т-170
Поз. Наименование Артикул Кол-во в сборке
0 Установка отопителя-вентилятора 50-47-12СП 1
0 Установка отопителя-вентилятора на тракторы для тропиков 50-47-12-01СП 1
0 Установка отопителя-вентилятора на тракторы трубоукладочных моделей 50-47-12-02СП 1
1 Чехол 50-47-161СП 1
2 Отопитель-вентилятор 50-47-140СП 1
3 Отопитель-вентилятор для тропиков 50-47-140-01СП 1
4 Рукав 700-46-2123-10 1
5 Рукав 700-46-2123-11 1
6 Рукав 700-46-2123-04 1
7 Болт М12Х40.58.019 1
8 Шайба 12ОТ65Г09 1
10 Уплотнение 700-40-8354 4
11 Уплотнение 700-40-8355 4
12 Гайка М8Х6.019 М8Х6.019 13
13 Шайба 8Т65Г09 13
15 Пробка 700-42-2215 2
16 Патрубок 50-47-111СП 1
17 Болт М8Х20.58.019 4
18 Прокладка 700-40-2969 1
19 Хомут 700-41-2235-06СП 6
20 Патрубок 50-47-137СП 1
21 Кран ПС7-2 1
22 Рукав 700-46-2123-06 1
23 Рукав 700-46-2123-09 1
24 Хомут 261115 1
25 Кран ВС-11 1
26 Фланец 50-47-31 1
27 Прокладка 40984 1
8 Шайба 12ОТ65Г09 1
9 Шайба 3135 1
13 Шайба 8Т65Г09 17
14 Шайба 31386-1 13
Установка отопителя-вентилятора